Porsche Garap Mesin 12 Silinder Baru, Lebih Efisien dan Bertenaga

Tanda-tanda Porsche akan memperpanjang umur mesin ICE untuk model produksi masa depannya.

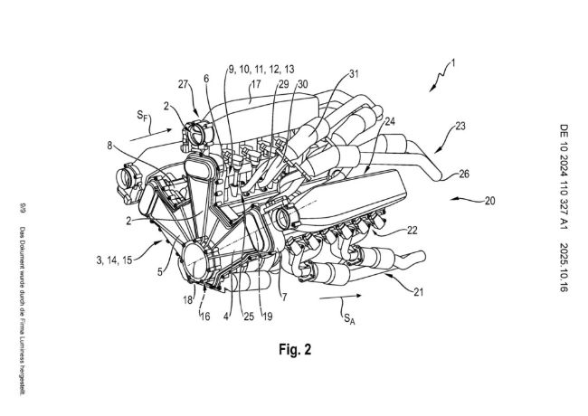
Paten Mesin W12 Porsche

STUTTGART, Carvaganza - Porsche tampaknya belum sepenuhnya mau meninggalkan mesin konvensional di era elektrifikasi. Setelah Bentley resmi mengakhiri produksi mesin W12 legendarisnya pada Juli 2024, kini muncul kabar bahwa Porsche tengah menyiapkan generasi baru dengan konfigurasi serupa.

KEY TAKEAWAYS

  • Apakah Porsche benar-benar sedang mengembangkan mesin W12 baru?

    Berdasarkan dokumen paten yang baru dipublikasikan, Porsche memang tengah menyiapkan rancangan mesin W12 baru dengan desain yang lebih efisien dibanding versi sebelumnya.
  • Apakah mesin baru ini akan digunakan di mobil produksi Porsche?

    Hingga kini belum ada konfirmasi resmi dari Porsche apakah mesin tersebut akan masuk jalur produksi atau masih dalam tahap riset.
  • Hal ini terindikasi dari langkah Porsche yang melakukan pengajuan paten pada tahun. Dokumen paten itu pun akhirnya dipublikasikan, di mana menampilkan rancangan mesin W12. Paten tersebut tidak secara eksplisit menjelaskan spesifikasi teknis, tetapi Porsche menuliskan bahwa silinder yang berada dalam mesin pembakaran disusun dalam bentuk W.

    Sekilas terdengar biasa, namun rancangan baru ini mengindikasikan adanya sejumlah penyempurnaan signifikan dibanding mesin W12 sebelumnya. Pihak pabrikan menyebut adanya penerapan yang lebih baik dengan penyempurnaan efisien dan tidak biasa. Sebuah kalimat samar yang menyiratkan peningkatan teknis kompleks.

    Paten Mesin W12 Porsche Foto: Carscoops

     

    Dari gambar paten, terlihat bahwa layout silinder benar-benar membentuk huruf W, bukan dua mesin V yang digabung seperti desain tradisional Bentley. Porsche menjelaskan bahwa setiap kepala silinder memiliki minimal satu intake port dan satu exhaust port. Saluran masuk udara itu tersambung ke ruang udara (air plenum), sementara pembuangan gas diarahkan ke perangkat exhaust gas discharge yang terpisah secara jelas.

    Baca Juga: The 7th Indonesia Autovaganza 2025 Siap Digelar Akhir Pekan Ini

    Rancangan ini menjadikan posisi air plenum berada di bagian atas mesin dan menutup sebagian besar permukaan kepala silinder. Menurut Porsche, tatanan tersebut mengizinkan udara mengalir lurus. Di mana ia masuk secara langsung ke ruang bakar, mengurangi hambatan aliran dan meminimalkan kehilangan tekanan.

    Porsche juga menambahkan bahwa aliran udara disalurkan sejajar dengan poros engkol, menciptakan jalur aliran lebih efisien. Meskipun penjabarannya terdengar sangat teknis, tapi benefit yang dihadirkan dari rancangan baru sangat jelas. Di lain sisi ia membantu dalam menjaga suhu mesin agar tetap dingin.

    Bentley Batur Bentley Batur memakai mesin W12 turbo
    Foto: Bentley

     

    Selain efisiensi, struktur mesin yang diusulkan tampaknya juga memungkinkan penggunaan tiga turbocharger atau supercharger sekaligus. Spesifikasi itu tentunya menawarkan tenaga yang masih dibandingkan mesin W12 6.0 liter twin-turbo milik Bentley yang digunakan pada model Mulliner Batur. Sebagai perbandingan, mesin terakhir Bentley menghasilkan 740 hp  dan torsi 1.000 Nm, bisa jadi angka yang dihasilkan mesin W12 Porsche lebih masif.

    Sayangnya, belum ada konfirmasi dari Porsche apakah mesin tersebut akan diproduksi atau sekadar untuk kebutuhan riset. Yang menarik, dokumen paten menyebut bahwa rancangan ini tidak terbatas pada 12 silinder saja. Porsche menyiratkan bahwa konsep serupa bisa diterapkan pada mesin dengan jumlah silinder berbeda. Hal tersebut membuka ruang spekulasi, salah satunya penggunaan untuk mesin Bugatti generasi terbaru. Mengingat ia merupakan bagian dari Volkswagen Group yang juga menaungi Porsche.
    (MUHAMMAD HAFID / WH)

    Baca Juga:

    Porsche Gelar Open House di Jakarta, Konsumen Bisa Lihat Penggantian Baterai EV

    Italdesign Garap 'Reinkarnasi' Honda NSX dengan Interpretasi Modern

    Mitsubishi Bakal Debut Konsep Crossover Listrik di Japan Mobility Show 2025

    Featured Articles

    Read All

    Artikel yang mungkin menarik untuk Anda

    Mobil Porsche Pilihan

    Updates

    Artikel lainnya

    New cars

    Artikel lainnya

    Drives

    Artikel lainnya

    Review

    Artikel lainnya

    Video

    Artikel lainnya

    Hot Topics

    Artikel lainnya

    Interview

    Artikel lainnya

    Modification

    Artikel lainnya

    Features

    Artikel lainnya

    Community

    Artikel lainnya

    Gear Up

    Artikel lainnya

    Artikel Mobil dari Oto

    • Berita
    • Artikel Feature

    Artikel Mobil dari Zigwheels

    • Motovaganza
    • Artikel Feature