Hyundai Patenkan Pintu Bagasi Model Geser
SEOUL, Carvaganza – Dunia desain mobil SUV makin tumbuh. Dua pabrikan Korea, Hyundai dan Kia, telah mengajukan permohonan mematenkan teknologi tailgate (pintu bagasi) model sliding untuk mobil SUV kepada United States Patent and Trademark Office (USPTO) alias lembaga paten Amerika Serikat.
KEY TAKEAWAYS
Pintu bagasi model geser inovasi pabrikan Hyundai ini memiliki ragam kelebihan
Di antaranya adalah adalah membuat ruang menjadi lebih efisien. Pintu bagasi model ini juga tidak akan menonjol ke atas pada saat dibuka sehingga lebih mudah digunakan di dalam garasi mobil. Juga tidak mengharuskan orang untuk mundur dari mobil saat membuka maupun menutupnya.Dalam dunia otomotif, Hyundai bukan satu-2satunya pabrikan yang berinovasi di sektor pintu bagasi.
Ford sebelumnya sudah mengajukan paten pintu bagasi model trisected dan Rivian pernah mengajukan paten untuk tailgate model telescoping and folding serta pintu bagasi bertangga yang terintegrasi (integrated tailgate stepCara kerja tailgate geser tersebut nantinya tidak akan seperti pintu geser yang terdapat pada mobil MPV. Tidak akan membuka ke samping, melainkan akan sliding ke atas dan ke bawah. Kehadiran teknologi teranyar dalam dunia otomotif ini menjadi sebuah pertanda baik dan menjadi alternatif baru bagi penyuka SUV modern.
Kelebihan dari desain pintu bagasi geser ini adalah membuat ruang menjadi lebih efisien. Pintu bagasi model ini juga tidak akan menonjol ke atas pada saat dibuka sehingga lebih mudah digunakan di dalam garasi mobil. Juga tidak mengharuskan orang untuk mundur dari mobil saat membuka maupun menutupnya.
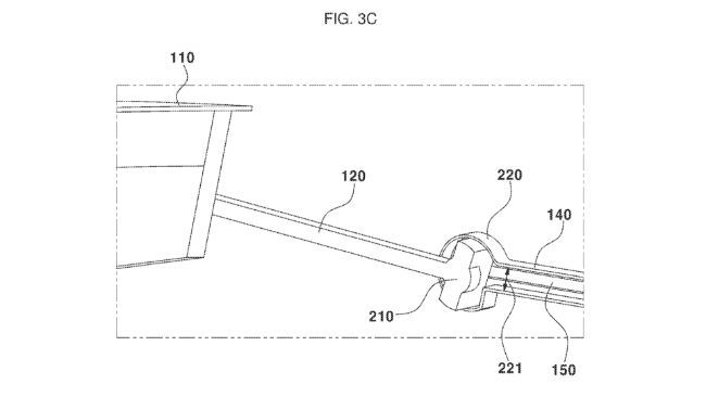
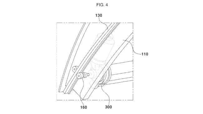
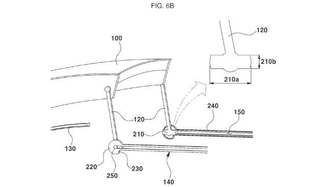
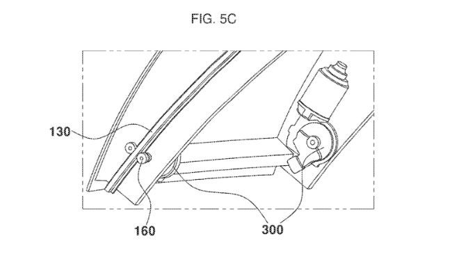
Dalam dokumentasi paten itu, Hyundai mengusulkan beberapa teknik membuka dan menutup pintu bagasi geser itu. Ada yang memakai rel geser seperti yang ditemukan pada mobil MPV atau dengan menggunakan engsel serta tuas yang dapat dilipat dengan cara tertentu. Di setiap bagian pinggir atap mobil dipasang rel dan penyangga agar pintu bisa menggeser menutup dan membuka dengan baik.
Tapi dibalik kemudahan itu, ternyata tailgate sliding juga bisa menjadi paket teknologi yang cukup sulit. Pasalnya, engineer harus menemukan ruang untuk rel slidingnya. Artinya, bentuknya akan melengkung di bagian belakang sehingga bisa mengganggu roof rack mobil dan muatannya sehingga ruang yang dibutuhkan juga akan lebih besar.
Belum ada konfirmasi resmi dari pabrikan kapan teknologi ini bakal dipakai. Sebagaimana paten-paten otomotif yang ada di muka bumi ini terdahulu, belum bisa dipastikan apakah Hyundai dan Kia bakal memakai pintu bagasi geser pada mobil produksi. Pabrikan hanya mematenkan inovasi yang mereka buat untuk melindungi hak kepemilikan intelektual. Tapi kalau melihat dari model-model SUV yang dihasilkan oleh Hyundai dan Kia, terutama pada model listrik, bisa jadi teknologi itu diaplikasi akan pada mobil produksi. Apalagi pabrikan Hyundai yang tumbuh semakin masif dan mulai serius menggarap pasar Asia Tenggara.
Hyundai sendiri bukanlah pabrikan pertama yang berinovasi dengan pintu bagasi. Ford sebelumnya sudah mengajukan paten pintu bagasi model trisected dan Rivian pernah mengajukan paten untuk tailgate model telescoping and folding serta pintu bagasi bertangga yang terintegrasi (integrated tailgate step). (EKA ZULKARNAIN)
Sumber: ragam sumber
Baca juga: Hyundai STARIA, Usung Desain futuristis dengan Limpahan Fitur Modern
Featured Articles
- Latest
- Popular
Artikel yang mungkin menarik untuk Anda
Mobil Hyundai Pilihan
- Latest
- Upcoming
- Popular
Updates
New cars
Drives
Review
Video
Hot Topics
Interview
Modification
Features
Community
Gear Up
Artikel Mobil dari Oto
- Berita
- Artikel Feature
- Road Test
Artikel Mobil dari Zigwheels
- Motovaganza
- Review
- Artikel Feature
