BMW Patenkan Desain Grille Digital, Bisa Diisi Banyak Fitur
MUNICH, Carvaganza - Grille mobil BMW memang menjadi topik tersendiri yang cukup menarik. Evolusi bentuknya seringkali mampu menyulut komentar baik dari penggemar otomotif maupun pecinta BMW sendiri. Terbaru, pabrikan asal Jerman mendaftarkan paten desain anyar grille.
KEY TAKEAWAYS
BMW daftarkan paten untuk desain grille digital
Nantinya akan bisa digunakan untuk visualisasikan desain fascia baru termasuk disematkan berbagai fitur baruPerkembangan teknologi yang semakin pesat, membuat mereka bermain dengan perangkat digital. Pada CES 2023, BMW mendebut teknologi panel lampu eksterior yang mengizinkan proyeksi berbagai warna.
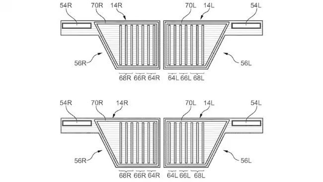
Berdasarkan paten terbaru BMW yang didaftarkan ke World Intellectual Property Organization, komponen dikembangkan dan kini menjadi panel grille yang terintegrasi headlamp. Artinya ketika lampu tak menyala bisa tersembunyi atau terkamuflase seperti tak memiliki headlight. Selain terintegrasi lampu utama, juga dibenamkan driver assistance system dan daytime running light (DRL) yang bisa diprogram dan dibentuk untuk membentuk desain khas kidney grille BMW.
Material permukaan bisa disetel tingkat transparansinya. Konsep ini serupa dengan BMW DEE Concept yang belum lama ini dikenalkan. Di mana ia memiliki kemampuan memodifikasi tampilan lampu depan termasuk warna dan bentuk grille beragam. Kehadirannya tentu mengubah arah desain tampang BMW ke depan.
Baca Juga: BMW XM Label Red Disiapkan Lahap Bukit Pikes Peak, Jadi Model Limited Edition
Melihat paten terdapat dua setingan pengaturan lampu. Posisi menyala pertama meningkatkan transparansi ketika headlamp menyala. Posisi kedua mengungkapkan DRL berbentuk kidney grille dan list yang melingkupinya. Gaya bingkai DRL ini sebenarnya sudah digunakan BMW pada beberapa model konvensional yang beredar di pasaran.
Jika teknologi ini disematkan, mungkin ditujukan untuk lini elektrifikasi. Mengingat model bertenaga listrik tak membutuhkan sistem pendinginan udara langsung layaknya mobil peminum bahan bakar fosil. Jadi tampang depan bisa ditutup tanpa perlu adanya lubang saluran angin.
Teknologi ini pun mampu mempertahankan sisi tradisional BMW sambil menyajikan peningkatan aerodinamika, faktor penting bagi kendaraan listrik. Lantaran aerodinamika bakal mempengaruhi daya jelajah tunggangan, di mana faktor itu sangat menjadi perhatian konsumen saat ini.
Walau begitu, masih jadi pertanyaan model BMW apa yang diimbuhkan komponen baru itu dan belum diketahui waktu perilisannya. Pabrikan otomotif sendiri seringkali mendaftarkan teknologi baru, tapi kebanyakan tak terealisasikan. Grille display digital ini pun juga perlu diuji lebih lanjut, khususnya ketika menghadapi berbagai kondisi cuaca khusus di negara yang punya iklim bersalju. Kalau pun berhasil tugas selanjutnya adalah menyediakan purnajual yang ramah kantong konsumen. Soalnya semakin canggih dan rumit fitur berarti biaya perawatan atau perbaikan bakal ikut meningkat.
(MUHAMMAD HAFID / WH)
Baca Juga: Mengintip Keistimewaan Mazda6 20th Anniversary Edition Dibanding Versi Standar
Sumber: MotorTrend
Featured Articles
- Latest
- Popular
Artikel yang mungkin menarik untuk Anda
Mobil BMW Pilihan
- Popular
Updates
New cars
Drives
Review
Video
Hot Topics
Interview
Modification
Features
Community
Gear Up
Artikel Mobil dari Oto
- Berita
- Artikel Feature
- Road Test
Artikel Mobil dari Zigwheels
- Motovaganza
- Review
- Artikel Feature
